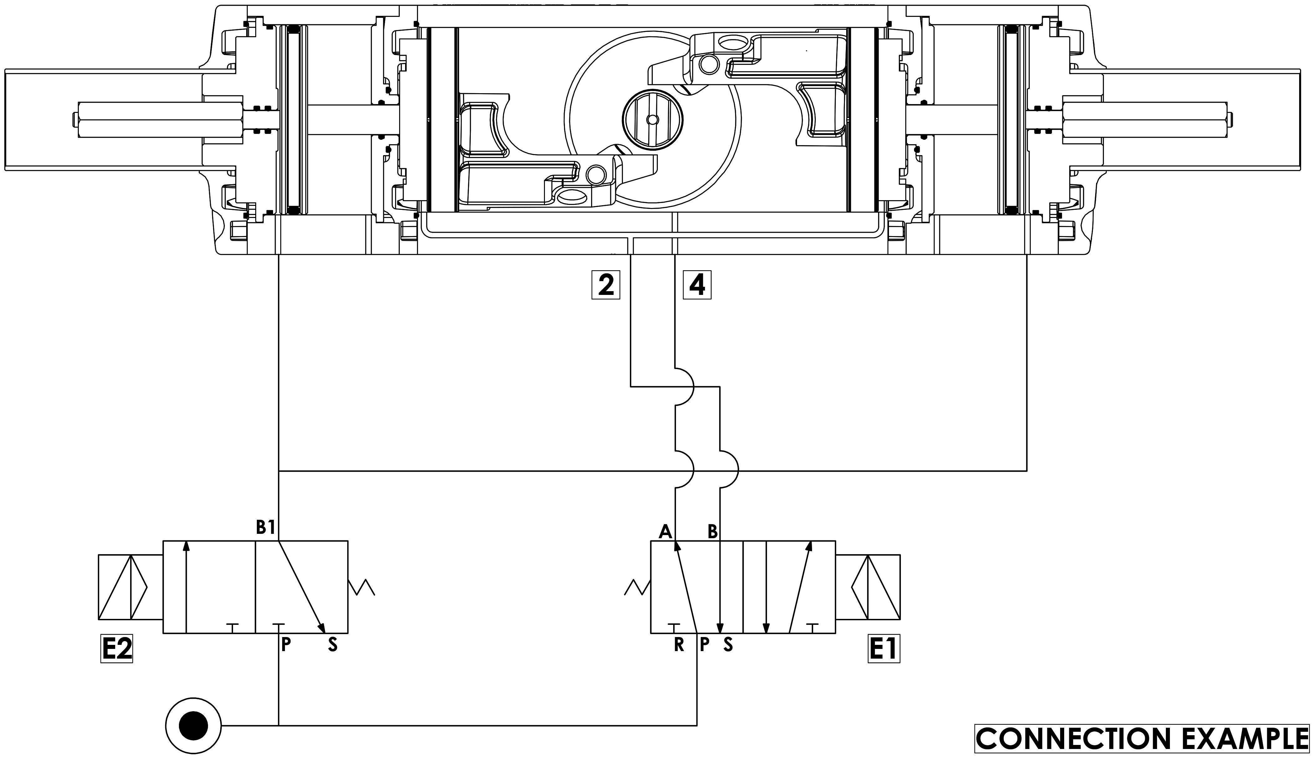
AGO - 铝制执行器 AGO HANDWHEEL - 带侧装一体化手轮执行器 AGO CF8M - CF8M铸造执行器 AGO 316 - 316锻造执行器 AGO A105 - A105碳钢执行器 AGO TWO STAGE - 两段式铝制气动执行器 AGO - 根据要求提供特殊版本 HEAVY DUTY的碳钢执行器 RACKON - 齿轮齿条式气动执行器 下载 总目录 下载 Actuator Accessories Catalogue 解码MAGNUM & THOR 配置您的产品 下载不同格式的2D和3D文件 下载 下载销售条款 宏 气动执行器 小类 AGO TWO STAGE - 两段式铝制气动执行器 选择尺寸 申请详细信息 打印页面 下载目录 AGO TWO STAGE - 两段式铝制气动执行器 特性 特性 物料 规格 附件 文档 技术参数计量给料旋转角度:最大45°执行器旋转角度:92°(-1°,+91°)起动扭矩:参见相应执行器的参数表格。对于任意一台执行器,DDN后的数字即对应于压力为5.6bar时的起动扭矩(Nm)。运行条件温度:-20℃~+80℃。额定压力:5.6bar;最高作业压力:8.4bar。流体源:无需润滑且经过滤的压缩空气。需要润滑时,请使用与NBR材质相兼容的油料 技术参数表代码DDN030401SDDN030402SDDN060401SDDN060402SDDN106401SDDN240401SDDN480401S尺寸DDN 30F03-F05DDN 30F04DDN 60F04DDN 60F05-F07DDN 106F05-F07DDN 240F07-F10DDN 480F10-F12A [mm]355355423423502589702B [mm]245245278278345416491C [mm]29292929294055重量[Kg]1,81,82,82,84,7814,3 下述尺寸的双级气动执行器组件:DDN30-DDN480 材质位置名称数量材质1缸筒1铝合金2活塞2铝合金3阀轴1不锈钢4十字滑块1合金钢5滑动轴承1乙缩醛树脂6支承滑套1乙缩醛树脂7十字滑块塑料内杆1合金钢8十字滑块塑料外杆1合金钢9钢套2合金钢10传动轴2合金钢11密封环2聚氨酯12活塞O形圈2NBR13活塞支承盘4PTFE 碳石墨填料14Seeger 弹性圈1不锈钢15垫片1不锈钢16外部止推轴承1乙缩醛树脂17轴上O形圈1FKM18定心环1铝合金19下轴O形圈1FKM20封盖O形密封圈2NBR21调整装置固定螺柱2不锈钢22螺栓8不锈钢23保护套2铝合金24中封盖O形圈2FKM25中封盖2铝合金26调节装置防松螺母2铝合金27中封盖外O形圈2NBR28附活塞O形圈2NBR29附活塞2铝合金30附缸筒2铝合金31末端封盖O形圈2NBR32末端封盖2铝合金33末端封盖O形内圈4FKM34保护套固定螺柱2不锈钢 运行示意图 常规使用条件和运行原理用途:经过称重装置完成液体或半固态材料的填充-计量给料。粗料或细料计量给料的双效执行器。标准配置:遵循EN ISO 5211标准,满足EN 15714-3标准。作业方式:基础型号为OMAL Double Acting 品牌执行器。执行器内共有两个缸筒,内部的活塞与活塞杆连接。执行器的活塞将执行器的旋转角度停止在预设位置,避免完全旋转和阻隔阀门的全部流量。执行器运行依靠两个电磁阀(E1 = 5/2;E2 =3/2)实现。E1负责控制执行器,E2负责控制外部缸筒。与下述参考图纸中的电磁阀相关的范例:- 阀门完全关闭(0°)时:E1: A-加压,B-排放;E2:B1-排放- 阀门完全开启(90°)进行粗料调节时:E1: A-排放,B-加压;E2:B1-排放达到预设数值,例如填满总体积的90%时,将屏蔽粗料(阀门全开)信号,空气进入E2,而后E1的位置会出现变更,外部活塞移动至所需的笔和角度,例如30°(结束调节),降低流量需求。例如阀门打开至30°(结束调整)时:E1: A-加压,B-排放;E2:B1-加压。这一中间位置和相应的阀门流量的重现与每一次流程重复精准相关。注意:预期调整角度通过防松螺母实现,介于0°至45°之间。若理论数值与实际数值一致,则需要屏蔽E2处(B1-排放)的结束调整信号;执行器开始移动,使阀门完全关闭。至此结束填充-计量给料流程。结论:OMAL设备可以安装于任何在长循环作业期间需要精准给料的位置。 A. 全闭合位置 在这一位置,执行器向4号口供应,2号和6号孔进行排放。B. 全开启位置(近似90°) 在这一位置,执行器向2号口供应,4号和6号孔进行排放。C. 中间位置(准确计量)在这一位置,执行器同时向6号口和4号口供应,2号孔进行排放。这这一条件下,外部活塞运动至相应的角度,引起阀门的流量将会减少。 配备限位器的信号盒 手动解锁操纵器 NAMUR 电磁阀 电磁阀 电气定位器(内置安全装置) 气动定位器 接近式限位器 机电式限位器 气动式限位器 抗爆燃限位器II2GD ExdIIC 证明书 EAC TR CU 010/2011 - Pneumatic Actuators EAC TR CU 012/2011 - EX 说明 ATEX MANUAL UITG0G01ATX USER MANUAL 8_0842 说明书 MANUAL UMA800081B 选择 尺寸 选择搜索参数 -- 尺寸 -- DDN30 DDN60 DDN106 DDN240 DDN480 搜索文章